我們擅長商業策略與用戶體驗的完美結合。
歡迎瀏覽我們的案例。
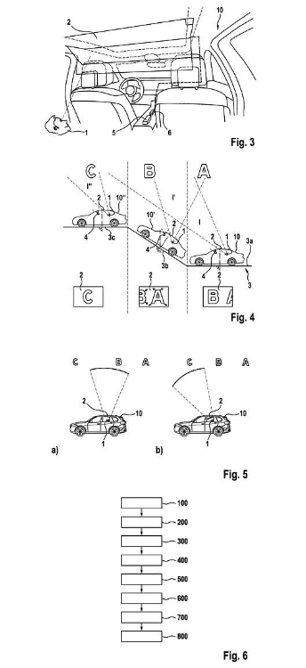
寶馬汽車公司最近提交了一項新的專利,旨在防止汽車乘客尤其是后座乘客出現暈車現象。這項專利由 CarBuzz 在歐洲專利局發現,它描述了車頂顯示器(例如最新款 7 系列的 Theater Screen)如何幫助乘客在行駛過程中避免暈車。

多年來汽車制造商和拼車公司一直在尋找解決暈車的方法,例如,大眾汽車考慮過使用可移動座椅和 LED 燈條,捷豹也花了數年時間研究消除導致暈車的腦部混亂現象。
對于那些不暈車的人來說這似乎意義不大,但隨著自動駕駛汽車越來越接近現實,暈車可能會變得更加普遍,即使是那些從未暈過車的人也可能會暈車,寶馬希望做好應對準備。
最簡單的解決方案是使用全景玻璃車頂,與車窗相結合,應該足以向暈車乘客的大腦傳達運動的效果。然而,由于寶馬會使用一些吊頂顯示器,玻璃車頂的作用就被減弱了。寶馬的解決方案是讓車頂看起來是透明的,對于配備可折疊吊頂顯示器的汽車,可以通過現有屏幕上顯示的圖像來實現這一點,或者可以將圖像投影到天花板上。

這兩種方式都需要眼球追蹤來確保圖像匹配,而且一個顯示器意味著后排只有一個乘客可以被照顧到。如果車里有不止一個暈車的人,虛擬現實和增強現實技術可以填補空白。
像這樣復雜的系統需要多個傳感器,寶馬指出,吊頂顯示器需要補償汽車相對于天空的傾斜度、相對于固定天體(如太陽、月亮和星星)的速度和方向。攝像頭可以捕捉汽車外部的圖像并將其投射到這個車頂安裝的屏幕上,寶馬還可以使用 GPS、天氣細節和天文數據來投射一個完全準確的圖像。
這個概念看起來很有希望,但可能只有在自動駕駛汽車普及的時候才會推出。