我們擅長商業策略與用戶體驗的完美結合。
歡迎瀏覽我們的案例。

12 月 4 日,蘋果正在繼續開發非傳統的顯示技術,這種技術可以沿著鉸鏈連接點折疊和擴展,將來很可能用于可折疊的 iPhone、筆記本電腦、腕帶以及眼鏡等設備。
蘋果從事可折疊顯示技術方面的研究并非秘密,因為該公司已經提交了一系列相關的專利申請。其中有些專利詳細說明了可擴展滾動或滑動顯示屏。
在 12 月 3 日公布的一項名為“電子設備可折疊可擴展顯示器”的專利申請中,蘋果對潛在的鉸鏈結構進行了更詳細的描述。
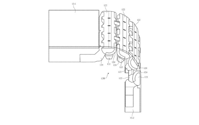
這項專利于 2020 年 2 月首次提交,里面詳細描述了一種以直角彎曲的可折疊設備。值得注意的是,蘋果展示了一種新的多連桿鉸鏈結構,該結構具有不止一個鉸接關節。

這只是蘋果正在研究的一個潛在鉸鏈。專利申請中指出,鉸鏈結構可以包括“齒輪齒、皮帶或其他運動同步結構”,也可以包括“在彎曲過程中彼此相對運動的構件”。
這些移動部件可能會破壞具有相對曲面的桿件和連桿,包括“防止桿件和連桿相互過度旋轉”的止動表面。這些鏈節可以繞著位于顯示器內的樞軸點旋轉,而實際的鉸鏈結構“不受顯示器厚度的影響”。
這項專利還提到了其他可擴展或滑出顯示器,指出“支持折疊、滑動、滾動和或其他行為的外殼結構”的設備,可以在緊湊的空間里為用戶提供更大的屏幕空間。
此外,該專利還介紹了鉸鏈結構可以在折疊和展開過程中防止過度顯示應力的諸多方法,包括特定的鉸鏈類型、應力最小化組件、止動表面和摩擦力,以控制施加在鉸鏈上的力的大小。
蘋果也沒有將顯示技術局限于 iPhone。該公司在專利中指出,這種可折疊或可擴展的設備可以應用于一系列不同的設備類型,包括腕帶、筆記本電腦、眼鏡、護目鏡、嵌入式售貨亭系統或車輛內的設備。專利補充說,將該設備描述為智能手機只是用例之一。
蘋果在專利申請中,用了很大篇幅詳細說明了這種設備可以使用的材料的種類,為其供電的電子電路的種類,以及傳感器、按鈕和其他部件的類型。
專利申請者包括歐文·黑爾(Owen D.Hale)、佐野達也(Tatsuya Sano)、黃昌佳(Chang-Chia Huang)、亞斯明·阿夫薩爾(Yasmin F.Afsar)、金元植(Hoon Sik Kim)以及邁克爾·維滕伯格(Michael B.Wittenberg)。其中,金元植為蘋果公司研發了不同的可擴展顯示技術,而維滕伯格則被列為 Apple Watch 頻段專利和 Touch ID 專利的發明者。
(邯鄲小程序開發)
